|
|
| home | contact | team t&d | group websites | markets | exports | blog |
![]() |
|
Nexans Euromold 400LR Elbow Connector
11kV 400Amp Separable Connectors 50sqmm - 240sqmm
Nexans Euromold 400LR is a screened separable elbow connector specified to terminate and connect medium/high voltage cables onto Interface B bushings in the following voltage classes:

Nexans Euromold 400LR Plug In Elbow Connector
Application : Nexans Euromold 400LR separable elbow connector (plug-in type) designed to connect polymeric insulated cable to equipment (transformers, switchgear, motors...).
Nexans Euromold 400LR Plug In Elbow Connectors 11kV 400Amp 50-240sqmm

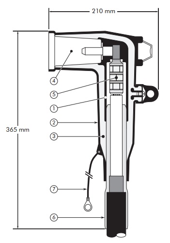
HV Elbows - Nexans Euromold Screened Separable Connector Design
1. Conductive EPDM insert
2. Conductive EPDM jacket
3. Insulating EPDM layer moulded between the insert and the jacket
4. Type B - 400 A interface as described by CENELEC EN 50180 and 50181
5. Conductor connector
6. Cable reducer
7. Earthing lead
T&D UK with the support of Nexans provide installation training and certification for experienced high voltage cable jointers up to 33kV.
| Euromold separable connector type | Voltage Um (kV) | Current Ir (A) | Conductor sizes (sqmm) | |
| min | max | |||
| 400LR/G | 12kV | 400 Amps | 50 | 240 |
| K400LR/G | 24kV | 400 Amps | 25 | 240 |
| M400LR/G | 36kV | 400 Amps | 35 | 185 |
| Euromold 400LR Part Number | Dia. over core insulation (mm) | |
| min | max | |
| 400LR/G-11-X | 12.0 | 17.5 |
| 400LR/G-15-X | 16.0 | 22.0 |
| 400LR/G-19-X | 20.0 | 26.5 |
| 400LR/G-22-X | 23.5 | 31.0 |
| 400LR/G-25-X | 26.5 | 32.5 |
| 400LR/G-27-X | 28.5 | 37.5 |
| Conductor sizes (sqmm) | Aluminium Cable | Aluminium and copper conductor | Copper Cable | |
| DIN Hexagonal Crimp | Deep Indent Crimp | DIN Hexagonal Crimp | ||
| 25sqmm | - | - | 25.95-14-5 | 25(K)M-11-2 |
| 35sqmm | 35(K)M-12-2 | 35KM-12-1 | 35(K)M-11-2 | |
| 50sqmm | 50(K)M-12-2 | 50(K)M-12-1 | 50(K)M-11-2 | |
| 70sqmm | 70(K)M-12-2 | 70(K)M-12-1 | 70(K)M-11-2 | |
| 95sqmm | 95(K)M-12-2 | 95(K)M-12-1 | 95(K)M-11-2 | |
| 120sqmm | 120(K)M-12-2 | 120(K)M-12-1 | 95.240-14-5 | 120(K)M-11-2 |
| 150sqmm | 150(K)M-12-2 | 150(K)M-12-1 | 150(K)M-11-2 | |
| 185sqmm | 185(K)M-12-2 | 185(K)M-12-1 | 185(K)M-11-2 | |
| 240sqmm | 240(K)M-12-2 | 240(K)M-12-1 | 240(K)M-11-2 | |
High Voltage Equipment Bushings - Nexans Euromold Bushings
Nexans Euromold separable connectors for terminating high voltage power cables are designed to mate with an outer cone type bushing on switchgear, transformers or motors - each screened separable cable connector has unique dimensions and/or electrical contact pins/screws.
Type A Bushings - 200 Series Bushings 7.9mm Plug In Pin, Voltage Range 12-24kV, Current Rating 250 Amps Copper Pin:
Use Nexans Euromold 158LR Plug In Separable Connector
Type B Bushings - 400 Series Bushings 14mm Plug In Pin, Voltage Range 12-36kV, Current Rating 400 Amps Copper Pin:
Use Nexans Euromold 400LR Plug In Separable Connector
Type C Bushings - 400 Series Bushings M16 Bolted, Voltage Range 12-36kV, Current Rating 630 Amps Copper Stud:
Use Nexans Euromold 400TB Plug In Separable Connector
Type C Bushings - 400 Series Bushings M16 Bolted, Voltage Range 12-36kV, Current Rating 1250 Amps Copper Stud:
Use Nexans Euromold 440TB Plug In Separable Connector
Type D Bushings - 600 Series Bushings 5/8" Bolted, Voltage Range 12-24kV, Current Rating 800 Amps Aluminium Stud:
Use Elastimold 650LR Plug In Separable Connector
Type D Bushings - 600 Series Bushings 5/8" Bolted, Voltage Range 12-24kV, Current Rating 1250 Amps Aluminium Stud:
Use Elastimold 675LR Plug In Separable Connector
Type E Bushings - 700 Series Bushings 5/8" Bolted, Voltage Range 12-36kV, Current Rating 800 Amps Aluminium Stud:
Use Elastimold 750LR Plug In Separable Connector
Type E Bushings - 700 Series Bushings 5/8" Bolted, Voltage Range 12-36kV, Current Rating 1250 Amps Aluminium Stud:
Use Elastimold 775LR Plug In Separable Connector
Nexans Euromold 400LR Plug In Elbow Connectors 11kV 400Amp 50-240sqmm
Nexans Euromold Elbow Connector 400LR/G/11-X 11kV