|
|
| home | contact | team t&d | group websites | markets | exports | blog |
![]() |
|
Nexans Euromold 400LR Plug In Elbow Connector
400LR/G/15-X 11kV
Nexans Euromold Elbow Connector 400LR/G/15-X 11kV
Application : Nexans Euromold 400LR/G/15-X 11kV separable elbow connector (plug-in type) designed to connect polymeric insulated cable to equipment (transformers, switchgear, motors...).
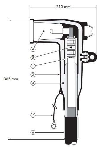
Nexans Euromold Elbow Connector 400LR/G/15-X 11kV - Specification Design

Separable connector comprising:
1. Conductive EPDM insert
2. Conductive EPDM jacket
3. Insulating EPDM layer moulded between the insert and the jacket
4. Type B - 400 A interface as described by CENELEC EN 50180 and 50181
5. Conductor connector
6. Cable reducer
7. Earthing lead