|
|
| home | contact | team t&d | group websites | markets | exports | blog |
![]() |
|

Nexans Euromold Connectors 400 Series Interface C Compact Cable Connectors HV
Nexans Euromold 484TB
Nexans Euromold 484TB tee connector terminates high voltage polymeric cables into switchgear,
transformers or motors with Interface C 400 series type C HV bushings.
Nexans Euromold 484TB straight connector meets the requirements of CENELEC HD 629.1.
Euromold 484TB is a screened separable tee connector specified to terminate and connect medium/high voltage cables in the following voltage classes:
Design & Specification - Nexans Euromold 484TB Tee Connector 12kV - 42kV 630Amps Interface C

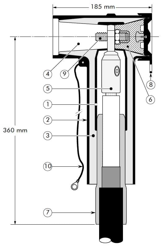
Separable tee connector comprising:
| Nexans Euromold Separable Connector | Voltage Um (kV) | Current lr (A) | Conductor Size Min (sq mm) | Conductor Size Max (sq mm) |
| 484TB/G | 12kV | 1250A | 50 | 630 |
| K484TB/G | 24kV | 1250A | 35 | 630 |
| M484TB/G | 36kV | 1250A | 35 | 630 |
| P484TB/G | 42kV | 1250A | 35 | 630 |
![]() | Nexans Euromold 484TB Tee Connector 12kV-42kV 630 Amps - Catalogue |
![]() | Nexans Euromold 484TB Tee Connector 12kV-42kV 630 Amps - Installation Instructions |
![]() |