|
|
| home | contact | team t&d | group websites | markets | exports | blog |
![]() |
|
Nexans Euromold 400LR Elbow Connector
33kV 400Amp Separable Connectors 35sqmm - 185sqmm
Nexans Euromold M400LR/G Plug-In Elbow Connectors
Application : Nexans Euromold M400LR/G separable elbow connector (plug-in type) designed to connect polymeric insulated cable to equipment (transformers, switchgear, motors...).
Nexans Euromold M400LR/G Plug-In Elbow Connectors 33kV 400Amp 35-185sqmm

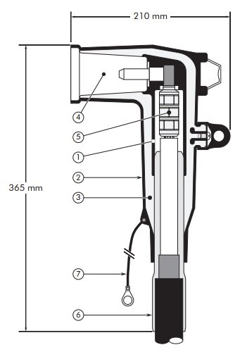
HV Elbows - Nexans Euromold Screened Separable Connector Design
1. Conductive EPDM insert
2. Conductive EPDM jacket
3. Insulating EPDM layer moulded between the insert and the jacket
4. Type B - 400 A interface as described by CENELEC EN 50180 and 50181
5. Conductor connector
6. Cable reducer
7. Earthing lead
Euromold 400A 33kV Plug In Elbow Connectors 35-185sqmm - M400LR/G
Nexans Euromold Elbow Connector M400LR/G-11-X 36kV