|
|
| home | contact | team t&d | group websites | markets | exports | blog |
![]() |
|

200 Series Interface A
Surge Arrester
Nexans Euromold 156SA is a surge arrester (11kV-24kV) specified to protect MV-HV cables terminated into substations and connecting medium/high voltage cables in the following voltage classes:
Nexans Euromold 156SA Surge Arrester

Application : Nexans 156SA surge arrester designed to protect 12 and 24 kV class components, including transformers, equipment, cable and accessories from high voltage surges resulting from lightning or switching.
Nexans Euromold 156SA Surge Arrester - Specification Design

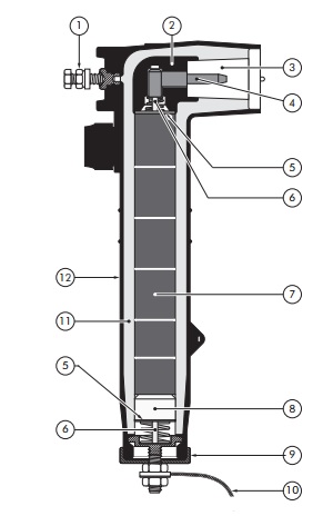
Surge arrester comprising:
1. Bail restraint
2. Conductive EPDM insert
3. Type A - 250 A interface as described by CENELEC EN 50180 and 50181
4. Pin contact
5. Contact disc
6. Copper shunt
7. Metal oxide valve elements
8. Aluminium spacer
9. Steel cap
10. Earth connection
11. Insulating EPDM layer moulded between the insert and the jacket
12. Conductive EPDM jacket
| Surge arrester type | Nominal discharge current In (kA) | Rated voltage Ur (kV) | Max continuous operating voltage Uc (kV) | Steep current residual voltage @ 5 kA [1/20 µs] (kV) | Lightning current residual voltage @ 5 kA [8/20 µs] (kV) | High current impulse withstand (kA) |
| Nexans Euromold 156SA-12 | 5 | 15 | 12.5 | 62.5 | 54.5 | 40 |
| Nexans Euromold 156SA-15 | 5 | 19 | 15.5 | 77.0 | 69.0 | 40 |
| Nexans Euromold 156SA-18 | 5 | 22 | 18.0 | 87.0 | 79.0 | 40 |
| Nexans Euromold 156SA-21 | 5 | 26 | 21.0 | 101.5 | 93.5 | 40 |
| Nexans Euromold 156SA-24 | 5 | 30 | 24.5 | 116.5 | 108.5 | 40 |